Da quando Apple ha introdotto la funzione SOS Emergenze via satellite con l’iPhone 14 nel 2022, il sistema ha dimostrato la sua enorme utilità salvando numerose vite in situazioni critiche.
L’azienda californiana continua a investire nello sviluppo di questa tecnologia, ma si scontra costantemente con limiti di natura fisica. Le antenne integrate negli smartphone odierni hanno infatti una superficie molto ridotta e una potenza limitata, fattori tecnici che restringono notevolmente la quantità di dati trasmissibili in tempi brevi.
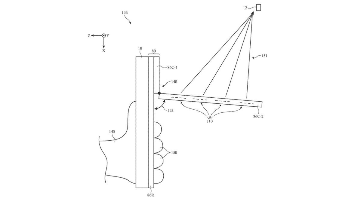
Un brevetto depositato originariamente nel 2024 e appena reso pubblico, intitolato “Electronic Device and Case with Satellite Communication Capabilities“, suggerisce che i tecnici di Cupertino stiano esplorando una soluzione esterna per superare questo ostacolo.
Migliorare la connessione satellitare con una cover? Apple ha un brevetto

Il documento descrive nel dettaglio un accessorio rimovibile, progettato non solo per gli iPhone ma potenzialmente anche per gli iPad. La peculiarità di questa custodia risiede in una sezione apribile, simile a un pannello a cerniera, che ospita al suo interno un’antenna ad array di fase.
Una volta aperto, questo componente si orienta direttamente verso il cielo per intercettare il segnale con maggiore precisione.
Questo ingegnoso accorgimento costruttivo risolve un problema pratico rilevante: allontanando fisicamente l’antenna dal corpo principale del dispositivo, si evita che la mano dell’utente possa bloccare inavvertitamente la trasmissione radio mentre impugna il telefono durante una chiamata di emergenza.
La comunicazione dei dati tra lo smartphone e la custodia avverrebbe tramite un connettore a radiofrequenza o sfruttando tecnologie wireless come l’NFC. Per i tablet, alcuni schemi del brevetto illustrano persino l’utilizzo dello Smart Connector per garantire l’alimentazione necessaria.
La tecnologia oltre il singolo satellite
Attualmente, stabilire un contatto satellitare richiede precisione e una linea di visuale sgombra. L’utente deve puntare il dispositivo verso un satellite in orbita bassa terrestre (LEO) e seguirne pazientemente la traiettoria.
Considerando che un singolo satellite attraversa l’orizzonte in circa sette minuti, e che ostacoli come alberi, edifici o montagne possono ridurre drasticamente questa finestra temporale utile, la connessione risulta limitata nel tempo e nella capacità.
L’impiego di un’antenna ad array di fase, come descritto nella documentazione Apple, modifica profondamente questo approccio tecnico. Essendo dotata di molteplici ricevitori e trasmettitori, la cover permetterebbe al dispositivo di agganciarsi non a un singolo satellite di passaggio, ma a un intero gruppo di essi contemporaneamente.
Questo sistema si adatterebbe in modo dinamico allo spostamento dell’intera costellazione orbitante, garantendo una stabilità di segnale nettamente superiore.
Incrementare l’efficienza dell’antenna significa poter inviare e ricevere una mole di dati maggiore rispetto ai soli messaggi di testo brevi attuali, un passo necessario se l’azienda intende in futuro offrire una vera e propria connessione internet via satellite.
Tra innovazione e usabilità
Nonostante le promettenti specifiche, l’idea di delegare la connettività satellitare a una custodia esterna solleva diverse domande sull’esperienza d’uso quotidiana.
Il grande punto di forza dell’attuale sistema di emergenza è la sua totale invisibilità: la funzione interviene in automatico quando manca la copertura cellulare tradizionale, essendo integrata nell’hardware di base e pronta all’uso per chiunque.
Richiedere l’utilizzo di una cover specifica implica invece che l’utente debba prevedere in anticipo una potenziale situazione di isolamento.
Escursionisti o professionisti che lavorano in aree remote adotterebbero sicuramente con favore questa espansione, ma gli incidenti imprevisti per gli utenti comuni rimarrebbero gestiti esclusivamente dalla meno potente antenna interna del telefono.
Infine, come accade di consueto con i brevetti depositati dalle grandi aziende tecnologiche, il documento rappresenta prima di tutto una prova di fattibilità. Molti di questi progetti non si concretizzano mai in prodotti commerciali, ma indicano chiaramente le direzioni esplorate dalla ricerca per rendere i dispositivi del futuro sempre più connessi e indipendenti dalle tradizionali reti terrestri.








